行业知识

电磁流量计在生产中的应用及维护

2023-08-21 09:57:32 乐鱼(中国)

电磁流量计在生产中的应用及维护

电磁流量计简介

电磁流量计是利用法拉第电磁感应定律制成的一种测量导电液体体积流量的仪表。

电磁流量计由流量传感器和转换器两大部分组成。按组成可分为一体型和分体型

图片关键词

一体型电磁流量计                 

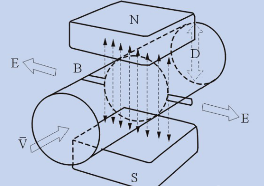
电磁流量计工作原理

电磁流量计(简称EMF)的基本原理是法拉第电磁感应定律,即导体在磁场中切割磁力线运动时在其两端产生感应电动势。如原理图所示,导电性液体在垂直于磁场的非磁性测量管内流动,与流动方向垂直的方向上产生与流量成比例的感应电势,电动势的方向按“弗来明右手规则”,其值如下式

式中 E-----感应电动势,即流量信号V;

k-----仪表系数

B-----磁感应强度T

D----- 测量管内径m     

V----- 平均流速m/s

E=KVBD

图片关键词

电磁流量计工作原理图

图片关键词

电磁流量计转换器接线盒

电磁流量计接线时应注意,严格按照上图所示接线。两信号线可以反接,励磁线也可反接,只需在程序中进行调整即可。切忌不可电源信号接反。

电磁流量计主要参数:

1.流量计量程 (设定要与上位机PLC程序中设定一致,即要与设计方案一致)

2.传感器系数 (要与配套使用的传感器一致,更换传感器或者转换器后都需要进行调整)

3.管道直径(与配套使用的传感器一致,及安装管道的直径)

4.流体流通方向(可根据具体情况进行调整,测量值为负时调整流通方向即可)

5.转换器密码:1级 7206

2级 9454  老传感器的密码:56360

1级密码可修改仪表量程,管径等基础参数,

传感器系数,阻尼时间等参数需要拥有2级密码权限方可修改

检查仪表故障时,首先要确认参数设置是否正常


电磁流量计传感器技术指标

管道中没有介质时:

1.Sigl----地 Sig2----地

2.DS1----DS2

3.SIG1---DS1

4.SIG2---DS2

5.CD1----地

6.CD2----地 以上均大于200兆欧

7.CD1—CD2串联内阻小于20欧


管道内充满介质时:

1.SIG1//SIG2对地小于50K,阻值应对称

2.CD1//CD2小于20欧

3. CD1//CD2对地应大于2M欧

以上可作为判断传感器质量的标准

电磁流量校验器

图片关键词

接线方式与电磁流量计传感器一致,可用于转换器的检测。

电磁流量传感器安装

安装场所:

1)测量混合相流体时,选择不会引起相分离的场所;测量双组分液体时,避免装在混合尚未均匀的下游;测量化学反应管道时,要装在反应充分完成段的下游;

2)尽可能避免测量管内变成负压;

3)选择震动小的场所,特别对一体型仪表;

4)避免附近有大电机、大变压器等,以免引起电磁场干扰;

5)易于实现传感器单独接地的场所;

6)尽可能避开周围环境有高浓度腐蚀性气体;

7)环境温度在-25/-10~50/600℃范围内,一体型结构温度还受制于电子元器件,范围要窄些;

8)环境相对湿度在10%~90%范围内;

9)尽可能避免受阳光直照;

10)避免雨水浸淋,不会被水浸没。(钢厂现场条件复杂,需要做好防护,尤其炉底部分的电磁)


电磁流量计传感器安装直管段要求:

为保证测量精确度,电磁流量计传感器安装时上游要有一定长度直管段。

传感器安装在90o弯管、T形管、同心异径管、全开闸阀后时,通常只要有离电极中心线5倍直径(5D)长度的直管段,而不同开度的阀则需10D。下游直管段通常为(2~3)D或无要求。


电磁流量计常见故障及处理方法

传感器故障

检查转换器时严禁带电拆除传感器励磁线,尽可能断电后作业,确保作业人员安全同时避免损坏转换器板子。断电后将转换器接线盒中接传感器的线全部拆除,测量

1.DS1----DS2、SIG1---DS1、 SIG2---DS2、 是否均大于200兆欧

SIG1//SIG2对地小于50K,阻值应对称

CD1//CD2之间小于50欧

CD1//CD2对地应大于2M欧     

以上数据可以有效地排查传感器工作是否正常。

如果流量计为分体型,在进行测量前,要先检查传感器接线盒中的接线,检查有无断线、虚接问题。


转换器故障

转换器常见的故障有1.黑屏2.白屏,无数值显示3.屏点亮,闪烁等较为明显的故障现象,可判定为转换器板子损坏,需要更换新的转换器。

如果屏幕有显示,但是与计算机画面显示不符,就需要检查测量转换器的模出信号是否正常。检查仪表的量程设置是否与程序中一致。

电磁流量计示值有明显的波动时,可以检查传感器信号线连接是否牢固可靠,是否有虚接;同时可以采用调整阻尼时间的方式减小测量值的波动。

如果经以上方法检测后,仍无法解决的问题的话,可以用VME型转换器校验器检查转换器是否正常。

同时还需检查附近有无大电机、大变压器等,以确定是否电磁场干扰造成信号波动

PS:如需更换转换器时,应确保接线正确,要严格按照说明书中接线规则接线。(最常遇到需要更换传感器注意接线正确)


首页
产品
新闻
联系