电机过热保护与绕组温度测量方法
2023-03-10 乐鱼(中国)
化工装置开车DCS调试全过程知识分享
2023-02-28 乐鱼(中国)
热电偶补偿原理知识分享
2023-02-06 乐鱼(中国)
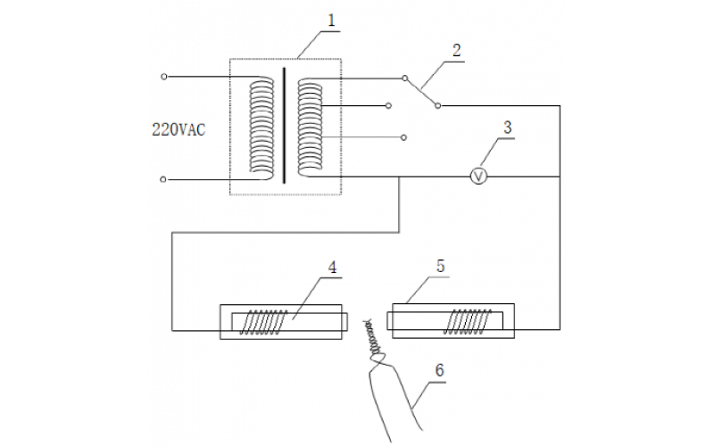
一种贵金属热电偶焊接装置
热电偶、电阻保护套泄露处理办法
2022-12-09 乐鱼(中国)
电厂循环流化床锅炉炉膛温度计的使用浅析
2022-12-06 乐鱼(中国)
热电偶工作原理及故障处理思路
2022-11-23 乐鱼(中国)
自控仪表接地知识分享
2022-10-24 乐鱼(中国)