新闻动态

  • 孔板流量计冷凝罐相关故障模式及针对性解决方案

    现象1:差压信号正向或负向漂移,且随流量变化异常 → 极大可能是单侧冷凝罐液位降低,甚至被蒸汽吹空。可使用手持红外测温枪对比两侧冷凝罐表面温度:满液罐上部温度接近蒸汽温度,下部较低;空罐整体温度均匀且偏高。处理:立即关闭根部阀,排空并重新灌水。

    2026-03-09 乐鱼(中国)

  • 热式质量流量计停机了还有流量显示?

    热式质量流量计对气体特别敏感,哪怕是物料气化产生的微量气体,只要在管道里动,就会被传感器当成流量读出来。正常走料的时候,物料稳定流动,气化产生的气体被盖住了;一停机,物料不动了,这些气体在管道里飘,流量计自然就显数了。之前同事光切小流量,没解决气化气体的问题,等气体多了、扰动强了,数值涨到210kg/h,自然就不管用了。

    2025-12-11 乐鱼(中国)

  • 流量计测量仪表原理与故障处理

    流量是天然气生产过程中一个重要的参数。流量就是在单位时间内流体通过一定截面积的量。 流量分为瞬时流量和累计流量。瞬时流量是指单位时间内流过管道某一截面流体的数量,简称流量。累积流量是指在某一段时间内流过管道的流体数量总和,即瞬时流量在某一段时间内的累积值,又称为总量。

    2025-09-25 乐鱼(中国)

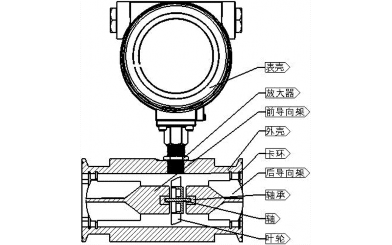
  • 科里奥利质量流量计典型结构和工作原理CMF基本结构 

    流量传感器是一种基于科里奥利力效应的相位敏感型谐振式传感器。该传感器由振动管、信号检测器、震荡驱动器、支撑结构和壳体所组成。

    2025-07-16 乐鱼(中国)

  • 常用仪表流量计密码、电动阀密码大全

    北京远大EMFM系列电磁流量计 一级密码:0521 二级密码:3210 三级密码:6108 上海华伍行力流体流体LTE100电控阀密码:8621 CI-PC156-2(J1)昶艾电子科技湿度仪密码:0124 西尼尔涡街流量计的密码 一级密码:000521 二级密码:006108

    2025-04-14 乐鱼(中国)

  • 仪表调试的内容及其目的

    仪表调试是对工业自动化控制中涉及到的仪表单体和控制系统进行调整和试验,目的是检查其内在 技术性能符合规范或设计规定,参数达到设计图纸要求。

    2024-11-11 乐鱼(中国)

  • 涡轮流量计显示流量为零

    涡轮流量计简介: 涡轮流量计一般由传感器和显示仪两部分组成,也可做成整体式。 涡轮流量计和容积式流量计、科里奥利质量流量计称为流量计中三类重复性、精度最佳的产品,作为十大类型流量计之一,其产品已发展为多品种、多系列批量生产的规模。

    2024-08-14 乐鱼(中国)

  • 蒸汽流量计的使用测量方法

    蒸汽相变对流量测量的影响 水蒸气顾名思义是气相,但在一定条件下会变成液相;饱和水蒸气中的水滴本是液相,但在一定条件会被蒸发变成气相。这是蒸汽质量流量测则量中常常碰到的汽水相变。 在推导式质量流量计中,关键环节是蒸汽密度的求取,蒸汽相变发生后,就使得通常由蒸汽温度压力求取其密度的关系发生变化,因此必须认真对待。

    2024-05-31 乐鱼(中国)

上一页123下一页 转至第
首页
产品
新闻
联系